Reason to trust
How Our News is Made
Strict editorial policy that focuses on accuracy, relevance, and impartiality
Ad discliamer
Morbi pretium leo et nisl aliquam mollis. Quisque arcu lorem, ultricies quis pellentesque nec, ullamcorper eu odio.
Verisign, the network infrastructure solutions provider has recently moved to patent a technology that prevents double spending. The technology in question can effectively detect and prevent digital assets like bitcoin and other cryptocurrency from being double spent, thus protecting the interests of the receiver.
Most digital currencies work using a single use cryptographic key. This key can be transferred only once for the transaction to be considered valid. When multiple transactions are conducted using the same cryptographic key, only one of these multiple transactions will be recognized and rest will be rejected automatically. This is an important feature which prevents people from taking an undue advantage of the digital asset by making multiple copies of the same cryptographic key and using it to conduct multiple transactions (after all ‘copy’ and ‘paste’ are the most widely used functions on any computer).
In the patent application, Verisign nowhere mentions that the technology is specifically meant for digital currency industry. The patent application, currently available for public to verify and raise any objections is titled “Systems, Devices and Methods for Detecting Double Signing in a One-time Use Signature Scheme”. The application, for a clear understanding of what the technology does, gives a detailed description of the possible use cases of this technology.
Cryptocurrency does makes it appearance multiple times in the application as it is one of the major sectors that need such solutions to prevent fraud. Thanks to the blockchain technology developed by Satoshi Nakamoto, a solution for double spend issue was first presented in the year 2008. The paper introducing Bitcoin to the world marked the first time in the history of digital currency where someone solved the double spend issue. However, in current day state, there are few challenges that prevent the inbuilt double spend proof feature of blockchain from being used efficiently in many real world situations.
The blockchain technology used in cryptocurrency platforms rely upon the blockchain updating its ledger data from different blocks created by different miners. The slow transaction processing capacity of bitcoin network due to block size issue has created enough backlogs that the receiver of a bitcoin transaction may have to wait for anywhere between few minutes to almost a day before the transaction is confirmed. The amount of time required to confirm transactions over the blockchain makes it unreliable when it comes to over the counter payments with bitcoin. It doesn’t make sense when someone buying a pack of cigarettes or a cup of coffee with bitcoin has to wait for an hour at the counter so that the shopkeeper can confirm the payment.

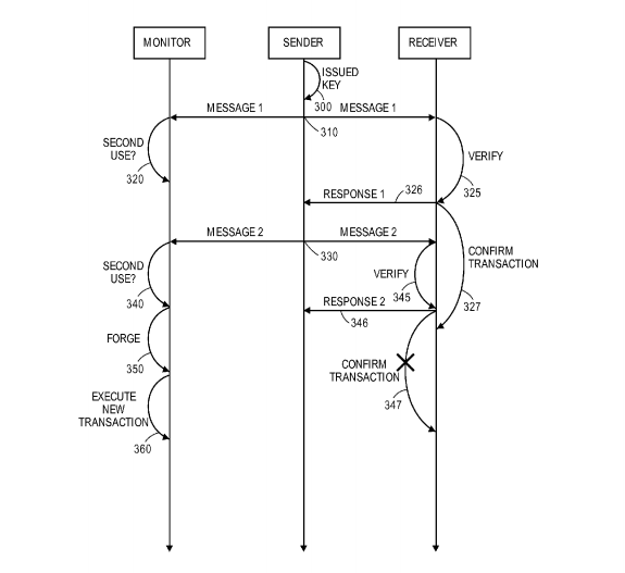
The system devised by Burton S. Kaliski JR for Verisign Inc. offers a simple way to check the single use cryptographic keys associated with digital assets from being spent more than once by verifying against the existing records. The monitor receives a message whenever a one time use cryptographic key is used. Once the message is received, it retrieves the records for the key from its database and cross-references it with the message. If the key has not been used before, it will allow the transaction to proceed, else it will block the transaction.
The patent application for this technology was filed in the month of September last year. By using this technology as an addition layer over the blockchain protocol will help verify transactions immediately without having to wait for a confirmation from the blockchain.
We have not heard the end of new inventions in the digital currency domain. The open source nature of Bitcoin technology combined with its huge potential makes it worthwhile for innovators to explore endless possibilities.
Ref: USPTO | USPTO Images | Brian Cohen